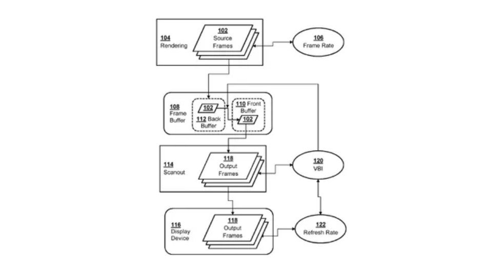
【索尼新专利显示将推出帧率补偿系统 提高游戏流畅度】根据索尼最新的专利清单透露,该公司正开发一种帧率补偿系统,进一步提高游戏的流畅度。专利显示,PlayStation 5 的 VRR(可变刷新率) 可能会在未来某个时候进行升级,一种特殊的帧速率补偿系统正开发中,该系统通过扫描 GPU 的渲染帧并补偿来自所需目标帧速率的波动,减少游戏帧率的下降。
今年9月时PS5加入了VRR技术,它可以动态调整显示器的刷新率,让其始终与GPU输出的帧率相同,大大缓解屏幕撕裂并提高游戏流畅度。考虑到PS5已经上市快2年了,才加入VRR,上述这个特殊的帧速率补偿系统估计也不会很快上线。














努力吧!就算再寂寞!也要努力活下去!